027-87409509

联系我们
027-87409509
QQ客服
申请试用
人脸识别下载
客户资料
您的姓名
您的电话
您的邮箱
您的公司
您的地址
首页>18新利平台>金甲网卫
产品简介

金甲网卫是一款用于管理本机程序互联网访问的软件。它可以实时监控本机进程对互联网的访问,当安装机器有新进程访问外部网络,程序将弹出进程信息,并由用户决定是否允许访问,从而达到管控本机进程访问互联网的目的。

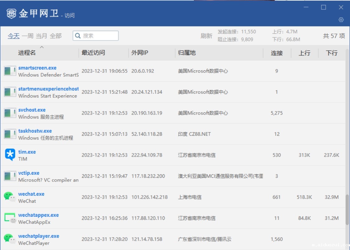
金甲网卫可记录安装机器所有进程对互联网访问的日志,包括访问次数、拒绝次数及流量;可解析进程访问目标IP的所在地区,进程每日对互联网访问的行为一目了然。



主动检测程序外网访问
追溯进程访问目标地区
按进程/访问目标地区任意设置

安装金甲网卫后,可有效防止非法进程对互联网的访问,节省访问流量的同时,可防止不良软件收集用户信息。对通过互联网扩散的病毒勒索软件也有很好的防范作用。


免费下载使用

流量统计代码
Baidu
新利Lucky